相对论(4)迈克尔逊-莫雷实验,为什么不能证明
上回我们说到,物理学家们为了让电磁学和牛顿力学显得融洽一些,就将老以太搬了出来,说光在以太中传播,甚至给光起了个名字叫以太波。还说光速每秒30万公里,是相对于以太的速度。
虽然假设出来的以太很好用,但是这次以太想堂堂正正地走进科学的殿堂,就需要严格的实验验证。

那么怎么验?原理很简单,如果以太真的存在,且静止不动,光以以太为媒介传播,那么当我们的实验设备和以太有一个相对速度的话,应该测得的光速不同。
比如,现在有一个光源发出了一束光线,这束光以以太为媒介传播,速度为C,现在我们也相对于以太运动,速度为V,如果朝向光源运动,测得的光速就是C+v,远离光源运动测得的光速就是c-v。
也就是说,测量出来的光速满足伽利略变化。

再比如,我们向河流中扔了一块石头,产生了波纹,由于河流的流动就导致了,朝向上游方向的水波速度变慢,朝向下游方向的水波速度变快。
所以说,如果光真的以以太为媒介传播,那么我们相对于以太的运动,就会造成测量的光速出现差异。
但问题是,光速测量非常困难,对光速的测量总是存在误差,而且光速非常快,大约每秒30万公里,如果我们相对于以太运动的速度很小的话,那根本测不出任何差异。

不过,美国的实验物理学家迈克尔逊,还是设计出了一个非常巧妙的实验,利用了地球在以太中运动的速度,来测量对光速的影响。
我们知道地球不仅在自转,还在绕着太阳公转,大约每秒30公里,地球在以太中运动的时候,就像是飞机在静止的空气中飞行一样,迎面会吹来强烈的“以太风”。
这样就会对光速造成每秒30公里的差异,但是这个差异只有光速的万分之一,直接对光速测量依旧很难达到这样的精度。提高我们相对于以太的速度是不可能了,地球的公转已经是我们能利用得最快速度了。
那么怎么办?迈克尔逊想到了一个绝妙的办法,不直接测量光速变化,而是通过检测光速变化,在干涉仪上造成的干涉条纹的移动,来确认地球的运动有没有影响到光速。

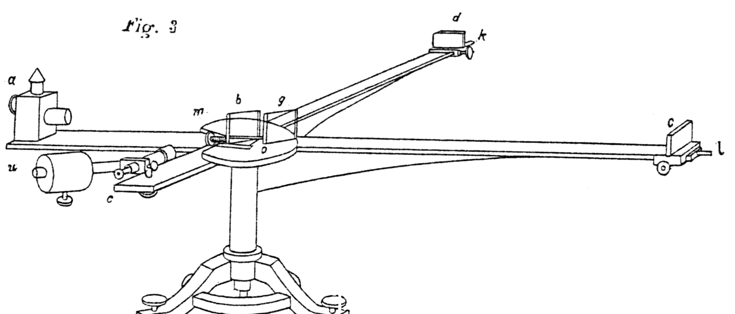
所以迈克尔逊就设计出了这样一个实验设备,它由两个互相垂直的悬臂,光源,半透镜和干涉仪组成。

光源产生光线,射向分光镜,分光镜会把光线分成垂直和水平的两束光线,再由全反射镜反射回来,进入干涉仪产生干涉图样,
这里需要注意的是,光在竖直和水平方向上的走过的路程是一样的,如果光速没有变化,那两束光就会同时达到干涉仪,干涉仪就能够检测出两束光干涉以后的波长。
如果某条悬臂上的光速出现变化,那么两束光就不再同步达到干涉仪,那么干涉条纹就会发生移动。
1881年迈克尔逊首次进行了检测以太的实验,按照最初的设想,地球绕着太阳在以太中运动,只要转动干涉仪的角度,那么以太就不会对其中一条悬臂上的光速产生影响,因为两条悬臂是垂直的。

而且按照地球在以太中运动的速度,估计出在干涉仪中检测到光的波长应该会出现0.04倍波长的变化。
经过重复多次的实验,可是结果显示,干涉以后光的波长没有发生任何变化,其间地球的公转方向已经明显发生了变化。
这次实验的失败,没有检测到地球相对于以太的运动,并没有被人们认可,很多人说,你这干涉仪太小了,两个悬臂只有1.2米,光速那么快,都不够光跑的,你这实验精度不够,因此检测不到以太。
迈克尔逊也认为以太肯定存在,自己没有检测到,是因为干涉仪太小,要建造更大的干涉仪,自己能力有限,于是就找到了爱德华·莫雷,这位建造实验设备的行家。

他俩做出来的新干涉仪悬臂达到了12米,而且为了消除振动对实验造成的误差,他俩还把干涉仪放在了水泥台上,水泥台下面是灌满水银的水槽。
这次的实验射设备可以说非常完美,精度比原来提高了10倍,可以检测到0.01倍的波长变化,而他们估计以太的存在会在此设备上造成0.4倍的波长变化,精度完全绰绰有余。
文章来源:《实验力学》 网址: http://www.sylxzz.cn/zonghexinwen/2022/0131/755.html